专利数据库
统计分析
产业报告
专利数据监控
产业人才
行业动态
产业政策法规
维权援助
个人中心
详情
文本
图像
标题
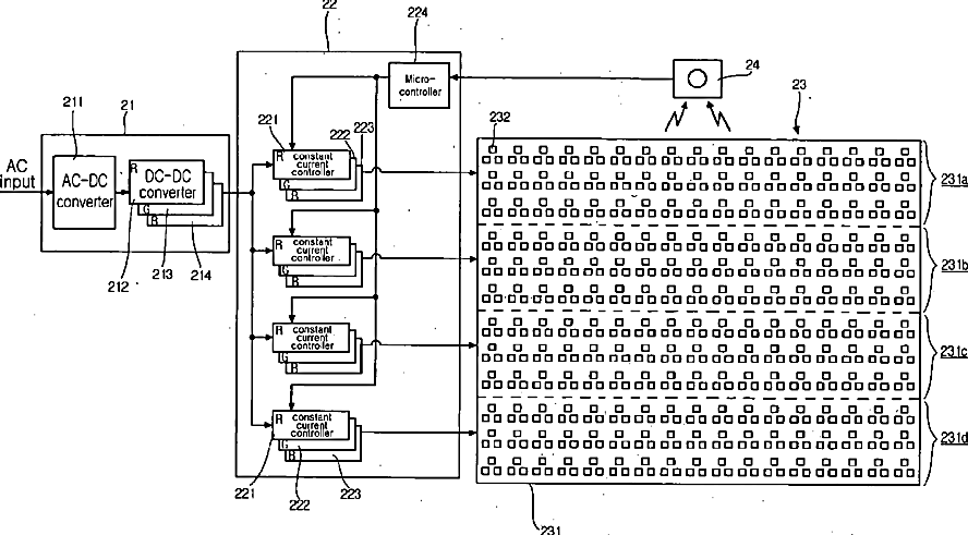
Liquid crystal display driving system having light emitting diodes
授权日
1900-01-01
公开(公告)号
US20080002103A1
申请日
2007-05-31
公开(公告)日
2008-01-03
当前申请(专利权)人
SAMSUNG ELECTRONICS CO., LTD.
发明人
LEE, SANG YUN
简单同族
JP2008010852A | JP4934508B2 | KR1020080001050A | NL2000669A | NL2000669C | TW200802234A | TWI370425B | US20080002103A1
简单同族成员数量
8
简单同族被引用专利总数
50
诉讼案件数
0
法律状态/事件
撤回 | 权利转移
抱歉,您的浏览器不支持PDF预览,请点击链接下载PDF文件