专利数据库
统计分析
产业报告
专利数据监控
产业人才
行业动态
产业政策法规
维权援助
个人中心
详情
文本
图像
标题
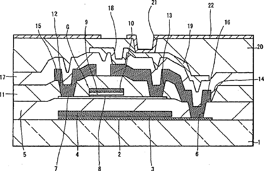
Liquid crystal display device and its manufacturing method
授权日
2003-12-09
公开(公告)号
US6661476
申请日
2000-08-18
公开(公告)日
2003-12-09
当前申请(专利权)人
SONY CORPORATION
发明人
ABE, FUMIAKI | SATO, TAKUSEI
简单同族
JP2001066638A | JP4403329B2 | KR100670965B1 | KR1020010021069A | US6661476
简单同族成员数量
5
简单同族被引用专利总数
79
诉讼案件数
0
法律状态/事件
未缴年费 | 权利转移
抱歉,您的浏览器不支持PDF预览,请点击链接下载PDF文件