专利数据库
统计分析
产业报告
专利数据监控
产业人才
行业动态
产业政策法规
维权援助
个人中心
详情
文本
图像
标题
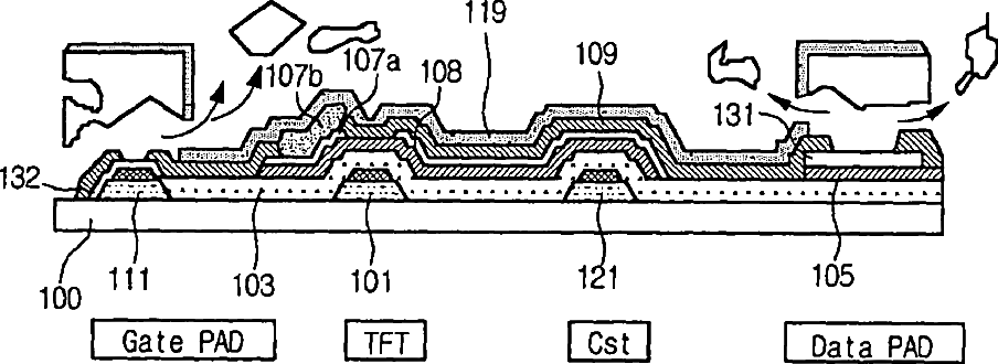
Liquid crystal display device and method of fabricating the same
授权日
2008-01-01
公开(公告)号
US7315344
申请日
2003-12-02
公开(公告)日
2008-01-01
当前申请(专利权)人
LG DISPLAY CO., LTD.
发明人
LIM, BYOUNG HO
简单同族
CN1237373C | CN1512222A | KR100789090B1 | KR1020040060042A | US20040125313A1 | US7315344
简单同族成员数量
6
简单同族被引用专利总数
60
诉讼案件数
0
法律状态/事件
授权 | 权利转移
抱歉,您的浏览器不支持PDF预览,请点击链接下载PDF文件