专利数据库
统计分析
产业报告
专利数据监控
产业人才
行业动态
产业政策法规
维权援助
个人中心
详情
文本
图像
标题
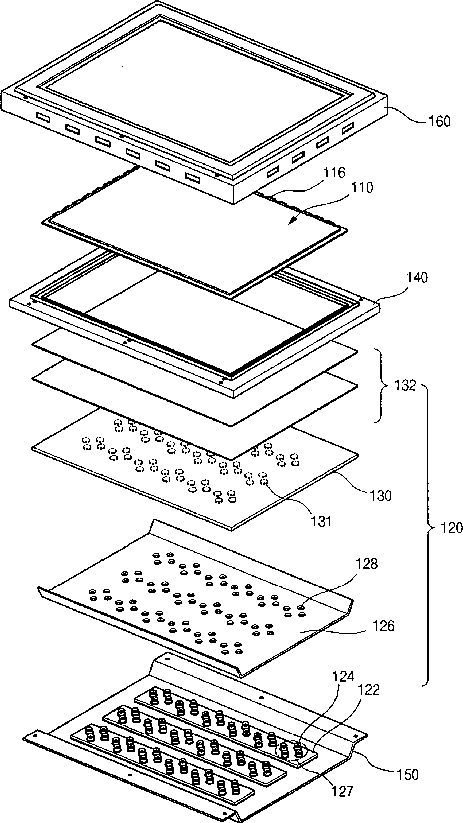
Backlight assembly for liquid crystal display device and liquid crystal display device using the same
授权日
1900-01-01
公开(公告)号
US20060279671A1
申请日
2006-05-31
公开(公告)日
2006-12-14
当前申请(专利权)人
LG DISPLAY CO., LTD.
发明人
HAN, GIL-WON | HONG, HEE-JUNG | LIM, MOO-JONG | BANG, JU-YOUNG | CHOI, JONG-HYUN
简单同族
FR2886442A1 | FR2886442B1 | GB0610764D0 | GB2426857A | GB2426857B | JP2006338020A | JP4809131B2 | US20060279671A1 | US7780312
简单同族成员数量
9
简单同族被引用专利总数
85
诉讼案件数
0
法律状态/事件
授权 | 权利转移
抱歉,您的浏览器不支持PDF预览,请点击链接下载PDF文件