专利数据库
统计分析
产业报告
专利数据监控
产业人才
行业动态
产业政策法规
维权援助
个人中心
详情
文本
图像
标题
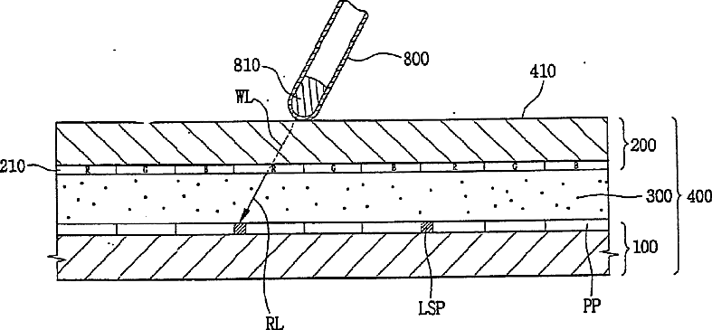
Display device with display panel processing input data
授权日
1900-01-01
公开(公告)号
US20080012999A1
申请日
2007-06-29
公开(公告)日
2008-01-17
当前申请(专利权)人
SAMSUNG DISPLAY CO., LTD.
发明人
PARK, SANG-JIN | CHO, JONG-WHAN | UH, KEE-HAN
简单同族
CN1324446C | CN1761933A | JP2006522980A | KR100954082B1 | KR1020040087471A | TW200421156A | TWI308710B | US20040201786A1 | US20080012999A1 | US7825894 | WO2004090708A1
简单同族成员数量
11
简单同族被引用专利总数
70
诉讼案件数
0
法律状态/事件
授权 | 权利转移
抱歉,您的浏览器不支持PDF预览,请点击链接下载PDF文件