专利数据库
统计分析
产业报告
专利数据监控
产业人才
行业动态
产业政策法规
维权援助
个人中心
详情
文本
图像
标题
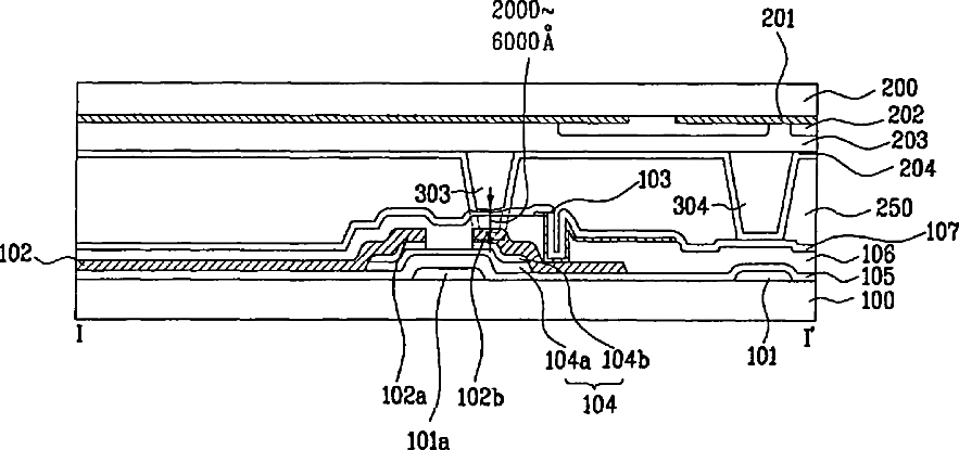
Liquid crystal display device and method of fabricating the same
授权日
2009-02-17
公开(公告)号
US7492436
申请日
2004-05-25
公开(公告)日
2009-02-17
当前申请(专利权)人
LG DISPLAY CO., LTD.
发明人
LIM, KYOUNG NAM
简单同族
CN100373238C | CN1661426A | JP2005242310A | JP4391928B2 | KR100617039B1 | KR1020050087414A | TW200528797A | TWI290644B | US20050190338A1 | US7492436
简单同族成员数量
10
简单同族被引用专利总数
76
诉讼案件数
0
法律状态/事件
授权 | 权利转移
抱歉,您的浏览器不支持PDF预览,请点击链接下载PDF文件