专利数据库
统计分析
产业报告
专利数据监控
产业人才
行业动态
产业政策法规
维权援助
个人中心
详情
文本
图像
标题
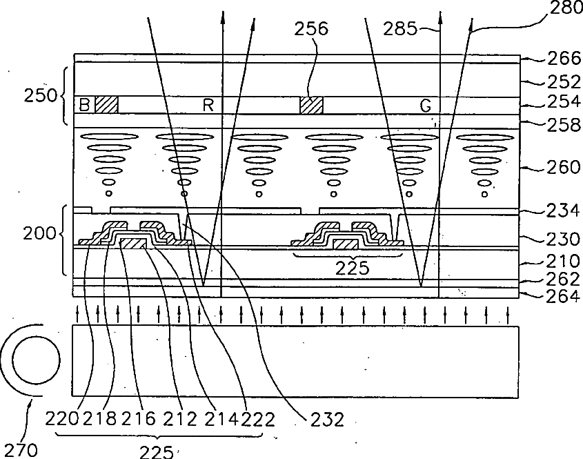
Transmissive and reflective type liquid crystal display
授权日
1900-01-01
公开(公告)号
US20050122453A1
申请日
2004-11-10
公开(公告)日
2005-06-09
当前申请(专利权)人
SAMSUNG DISPLAY CO., LTD.
发明人
JANG, YONG-KYU | KIM, HYUNG-GUEL
简单同族
CN101013226A | KR100846628B1 | KR1020030050303A | US20030112388A1 | US20050062914A1 | US20050122453A1 | US6831719 | US7414684 | US7929082
简单同族成员数量
9
简单同族被引用专利总数
56
诉讼案件数
0
法律状态/事件
未缴年费 | 权利转移
抱歉,您的浏览器不支持PDF预览,请点击链接下载PDF文件