专利数据库
统计分析
产业报告
专利数据监控
产业人才
行业动态
产业政策法规
维权援助
个人中心
详情
文本
图像
标题
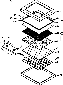
Backlight unit and liquid crystal display having the same
授权日
2010-01-19
公开(公告)号
US7649593
申请日
2006-04-06
公开(公告)日
2010-01-19
当前申请(专利权)人
SAMSUNG DISPLAY CO., LTD.
发明人
YOON, JU-YOUNG | KIM, GI-CHERL | KIM, HYUN-JIN | LEE, SANG-YU
简单同族
CN100517020C | CN1854859A | EP1717633A1 | JP2006310319A | JP4332539B2 | KR101158897B1 | KR1020060113174A | TW200639527A | US20060244879A1 | US7649593
简单同族成员数量
10
简单同族被引用专利总数
75
诉讼案件数
0
法律状态/事件
授权 | 权利转移
抱歉,您的浏览器不支持PDF预览,请点击链接下载PDF文件