专利数据库
统计分析
产业报告
专利数据监控
产业人才
行业动态
产业政策法规
维权援助
个人中心
详情
文本
图像
标题
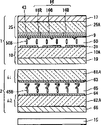
Viewing angle control element, method of manufacturing the same, liquid crystal display device, and electronic apparatus
授权日
2008-12-23
公开(公告)号
US7468770
申请日
2005-02-25
公开(公告)日
2008-12-23
当前申请(专利权)人
BOE TECHNOLOGY GROUP CO., LTD.
发明人
OKUMURA, OSAMU
简单同族
CN100343745C | CN1661421A | JP2005275342A | JP4285350B2 | KR100723073B1 | KR1020060043181A | TW200530701A | US20050190329A1 | US7468770
简单同族成员数量
9
简单同族被引用专利总数
140
诉讼案件数
0
法律状态/事件
授权 | 权利转移
抱歉,您的浏览器不支持PDF预览,请点击链接下载PDF文件