专利数据库
统计分析
产业报告
专利数据监控
产业人才
行业动态
产业政策法规
维权援助
个人中心
详情
文本
图像
标题
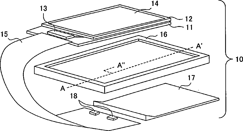
Liquid crystal display module
授权日
1900-01-01
公开(公告)号
US20080170179A1
申请日
2008-01-15
公开(公告)日
2008-07-17
当前申请(专利权)人
PANASONIC LIQUID CRYSTAL DISPLAY CO., LTD. | HITACHI DISPLAYS, LTD.
发明人
SHIRAISHI, NAOYA
简单同族
CN101226304A | CN101226304B | JP2008175926A | US20080170179A1 | US8134658
简单同族成员数量
5
简单同族被引用专利总数
55
诉讼案件数
0
法律状态/事件
授权 | 权利转移
抱歉,您的浏览器不支持PDF预览,请点击链接下载PDF文件