专利数据库
统计分析
产业报告
专利数据监控
产业人才
行业动态
产业政策法规
维权援助
个人中心
详情
文本
图像
标题
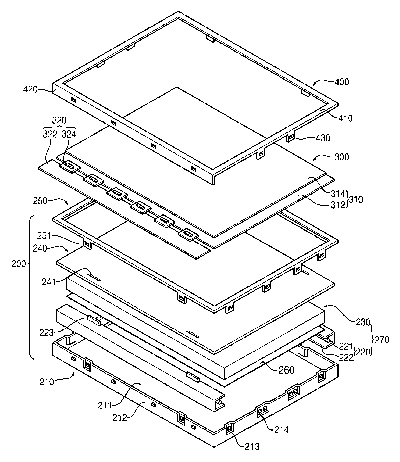
Backlight assembly and liquid crystal display apparatus having the same
授权日
2010-05-11
公开(公告)号
US7714952
申请日
2006-06-20
公开(公告)日
2010-05-11
当前申请(专利权)人
SAMSUNG DISPLAY CO., LTD.
发明人
CHANG, WOONG-JAE
简单同族
CN1885132A | CN1885132B | KR101189088B1 | KR1020060134285A | US20060290836A1 | US7714952
简单同族成员数量
6
简单同族被引用专利总数
96
诉讼案件数
0
法律状态/事件
未缴年费 | 权利转移
抱歉,您的浏览器不支持PDF预览,请点击链接下载PDF文件