专利数据库
统计分析
产业报告
专利数据监控
产业人才
行业动态
产业政策法规
维权援助
个人中心
详情
文本
图像
标题
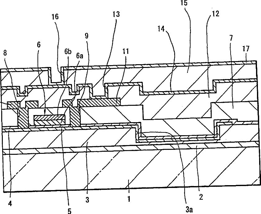
Liquid crystal display device and its manufacturing method
授权日
2003-06-24
公开(公告)号
US6583828
申请日
2000-08-21
公开(公告)日
2003-06-24
当前申请(专利权)人
SONY CORPORATION
发明人
WADA, TOMOHIRO | SATO, TAKUSEI | ABE, FUMIAKI
简单同族
JP2001066631A | KR100729791B1 | KR1020010021271A | US6583828
简单同族成员数量
4
简单同族被引用专利总数
63
诉讼案件数
0
法律状态/事件
授权 | 权利转移
抱歉,您的浏览器不支持PDF预览,请点击链接下载PDF文件