专利数据库
统计分析
产业报告
专利数据监控
产业人才
行业动态
产业政策法规
维权援助
个人中心
详情
文本
图像
标题
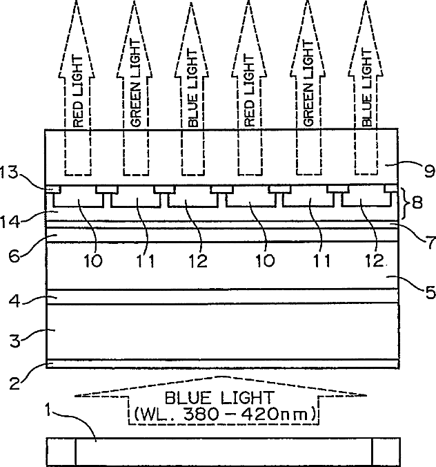
Liquid crystal display with polarization layer interior to substrates
授权日
1900-01-01
公开(公告)号
US20020097370A1
申请日
2002-04-02
公开(公告)日
2002-07-25
当前申请(专利权)人
VISTA PEAK VENTURES, LLC
发明人
NOSE, TAKASHI | KANEKO, SETUO | SUZUKI, MASAYOSHI
简单同族
JP1999052371A | JP3094961B2 | US20010000436A1 | US20020097370A1 | US6243151 | US6445431 | US6501520
简单同族成员数量
7
简单同族被引用专利总数
89
诉讼案件数
0
法律状态/事件
授权 | 权利转移
抱歉,您的浏览器不支持PDF预览,请点击链接下载PDF文件