专利数据库
统计分析
产业报告
专利数据监控
产业人才
行业动态
产业政策法规
维权援助
个人中心
详情
文本
图像
标题
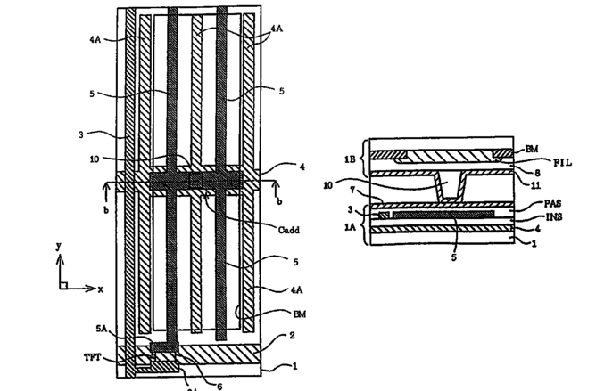
Liquid crystal display device having improved spacers
授权日
2010-01-05
公开(公告)号
US7643119
申请日
2008-10-03
公开(公告)日
2010-01-05
当前申请(专利权)人
PANASONIC LIQUID CRYSTAL DISPLAY CO., LTD.
发明人
YANAGAWA, KAZUHIKO | ASHIZAWA, KEIICHIRO | ISHII, MASAHIRO | HIKIBA, MASAYUKI
简单同族
KR100375239B1 | KR100396638B1 | KR1020000071622A | KR1020020070168A | TW498177B | US20030020864A1 | US20030151716A1 | US20040257483A1 | US20070040984A1 | US20090051864A1 | US6583846 | US6798486 | US7050140 | US7167228 | US7643119 | US7751020
简单同族成员数量
16
简单同族被引用专利总数
167
诉讼案件数
0
法律状态/事件
期限届满 | 权利转移
抱歉,您的浏览器不支持PDF预览,请点击链接下载PDF文件