专利数据库
统计分析
产业报告
专利数据监控
产业人才
行业动态
产业政策法规
维权援助
个人中心
详情
文本
图像
标题
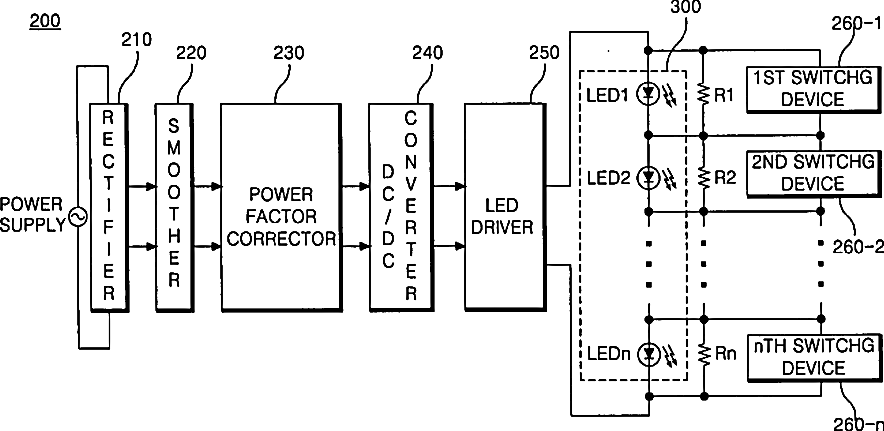
Backlight assembly driving apparatus for liquid crystal display
授权日
1900-01-01
公开(公告)号
US20070205977A1
申请日
2006-06-29
公开(公告)日
2007-09-06
当前申请(专利权)人
LG DISPLAY CO., LTD.
发明人
KIM, PU JIN
简单同族
CN100550106C | CN101030356A | KR101243427B1 | KR1020070090566A | US20070205977A1 | US7663598
简单同族成员数量
6
简单同族被引用专利总数
53
诉讼案件数
0
法律状态/事件
授权 | 权利转移
抱歉,您的浏览器不支持PDF预览,请点击链接下载PDF文件