专利数据库
统计分析
产业报告
专利数据监控
产业人才
行业动态
产业政策法规
维权援助
个人中心
详情
文本
图像
标题
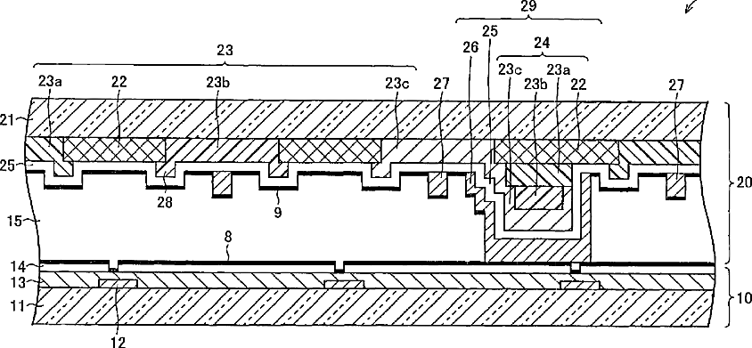
Color filter substrate, liquid crystal display apparatus including color filter substrate, and method of manufacturing color filter substrate
授权日
2010-11-02
公开(公告)号
US7826012
申请日
2009-06-24
公开(公告)日
2010-11-02
当前申请(专利权)人
SHARP KABUSHIKI KAISHA
发明人
YAGI, TOSHIFUMI | TSUBATA, TOSHIHIDE | TOKUDA, TSUYOSHI
简单同族
CN100370330C | CN1637503A | JP2005208583A | JP4044090B2 | KR100690488B1 | KR1020050067072A | TW200525194A | TWI266904B | US20050151909A1 | US20090257008A1 | US7570323 | US7826012
简单同族成员数量
12
简单同族被引用专利总数
62
诉讼案件数
0
法律状态/事件
授权
抱歉,您的浏览器不支持PDF预览,请点击链接下载PDF文件