专利数据库
统计分析
产业报告
专利数据监控
产业人才
行业动态
产业政策法规
维权援助
个人中心
详情
文本
图像
标题
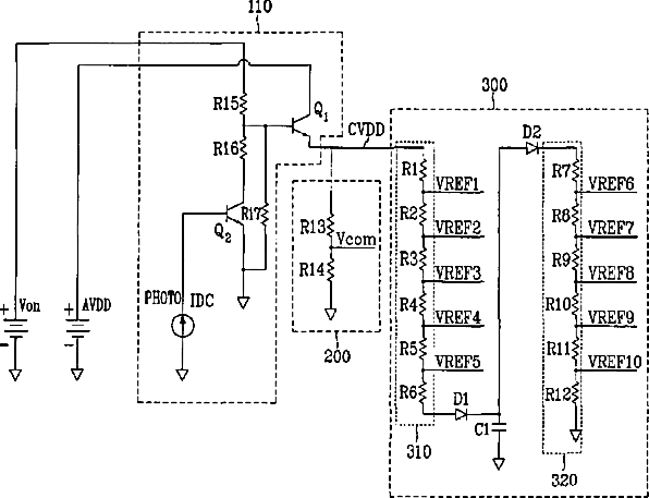
Liquid crystal display having gray voltages with varying magnitudes and driving method thereof
授权日
2006-09-19
公开(公告)号
US7109984
申请日
2002-09-25
公开(公告)日
2006-09-19
当前申请(专利权)人
SAMSUNG DISPLAY CO., LTD.
发明人
MOON, SEUNG-HWAN
简单同族
AT441172T | CN100338644C | CN1414539A | DE60233466D1 | EP1298637A2 | EP1298637A3 | EP1298637B1 | JP2003186455A | JP4439171B2 | KR100806903B1 | KR1020030027999A | TW533399B | US20030058235A1 | US20060274006A1 | US7109984 | US7737963
简单同族成员数量
16
简单同族被引用专利总数
124
诉讼案件数
0
法律状态/事件
授权 | 权利转移
抱歉,您的浏览器不支持PDF预览,请点击链接下载PDF文件