专利数据库
统计分析
产业报告
专利数据监控
产业人才
行业动态
产业政策法规
维权援助
个人中心
详情
文本
图像
标题
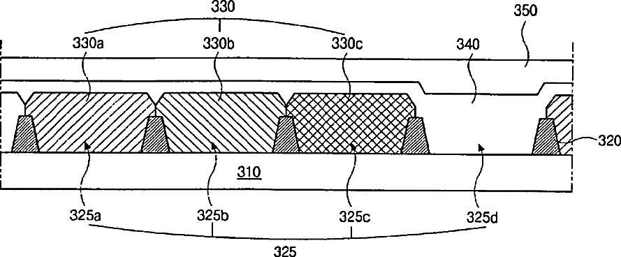
Substrate for a liquid crystal display and a fabricating method thereof
授权日
2010-07-27
公开(公告)号
US7764347
申请日
2008-09-15
公开(公告)日
2010-07-27
当前申请(专利权)人
LG DISPLAY CO. LTD.
发明人
PARK, JONG-JIN
简单同族
CN100342272C | CN1637491A | JP2005182067A | JP4303676B2 | KR100990500B1 | KR1020050064358A | US20050134788A1 | US20090015769A1 | US7515225 | US7764347
简单同族成员数量
10
简单同族被引用专利总数
68
诉讼案件数
0
法律状态/事件
授权 | 权利转移
抱歉,您的浏览器不支持PDF预览,请点击链接下载PDF文件