专利数据库
统计分析
产业报告
专利数据监控
产业人才
行业动态
产业政策法规
维权援助
个人中心
详情
文本
图像
标题
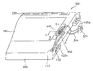
Liquid crystal display device having a wire securing member
授权日
2010-08-31
公开(公告)号
US7787070
申请日
2008-01-23
公开(公告)日
2010-08-31
当前申请(专利权)人
SAMSUNG DISPLAY CO., LTD
发明人
CHOI, SEONG-SIK | KWON, GONG-SUB
简单同族
CN100354718C | CN1387076A | JP2002350851A | JP4896325B2 | KR100805127B1 | KR1020020088137A | US20020171784A1 | US20050243240A1 | US20050243241A1 | US20080117353A1 | US6919938 | US7193665 | US7330224 | US7787070
简单同族成员数量
14
简单同族被引用专利总数
95
诉讼案件数
0
法律状态/事件
未缴年费 | 权利转移
抱歉,您的浏览器不支持PDF预览,请点击链接下载PDF文件