专利数据库
统计分析
产业报告
专利数据监控
产业人才
行业动态
产业政策法规
维权援助
个人中心
详情
文本
图像
标题
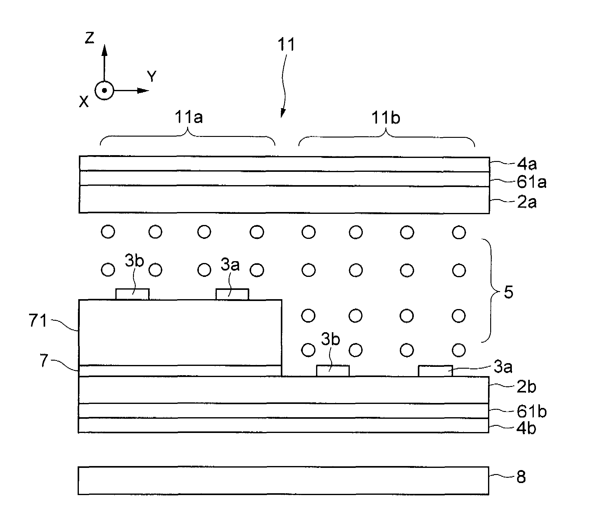
Liquid crystal display device
授权日
2011-11-08
公开(公告)号
US8054422
申请日
2007-09-25
公开(公告)日
2011-11-08
当前申请(专利权)人
NEC LCD TECHNOLOGIES, LTD.
发明人
UEHARA, SHINICHI | MATSUSHIMA, JIN | SUMIYOSHI, KEN
简单同族
CN101046573A | CN101046573B | JP2007293290A | JP5278720B2 | US20070222927A1 | US20080018840A1 | US20120075554A1 | US8054422 | US8134663 | US8395731
简单同族成员数量
10
简单同族被引用专利总数
93
诉讼案件数
0
法律状态/事件
授权 | 权利转移
抱歉,您的浏览器不支持PDF预览,请点击链接下载PDF文件