专利数据库
统计分析
产业报告
专利数据监控
产业人才
行业动态
产业政策法规
维权援助
个人中心
详情
文本
图像
标题
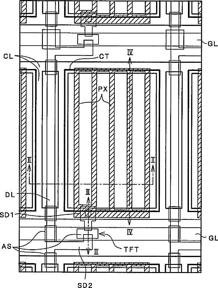
Active matrix type liquid crystal display and liquid crystal material
授权日
1900-01-01
公开(公告)号
US20040027507A1
申请日
2003-08-11
公开(公告)日
2004-02-12
当前申请(专利权)人
PANASONIC LIQUID CRYSTAL DISPLAY CO., LTD.
发明人
IWAKABE, YASUSHI | OHTA, MASUYUKI | MATSUYAMA, SHIGERU | OAKU, HITOSHI | KONDO, KATSUMI
简单同族
JP2001354968A | KR100431910B1 | KR1020010112586A | TW583479B | US20020004108A1 | US20040027507A1 | US20070035686A1 | US20090207361A1 | US20110019116A1 | US6645576 | US7256843 | US7538829 | US7826022 | US8059245
简单同族成员数量
14
简单同族被引用专利总数
97
诉讼案件数
0
法律状态/事件
授权 | 权利转移
抱歉,您的浏览器不支持PDF预览,请点击链接下载PDF文件