专利数据库
统计分析
产业报告
专利数据监控
产业人才
行业动态
产业政策法规
维权援助
个人中心
详情
文本
图像
标题
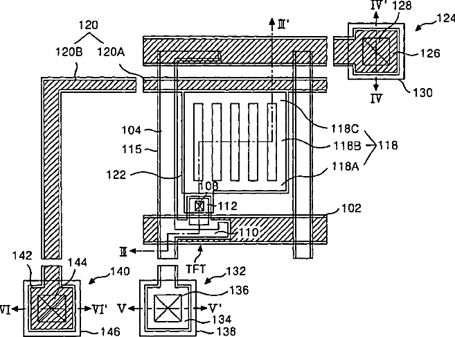
Liquid crystal display device
授权日
2010-08-24
公开(公告)号
US7782436
申请日
2009-06-23
公开(公告)日
2010-08-24
当前申请(专利权)人
LG DISPLAY CO., LTD.
发明人
AHN, BYUNG CHUL
简单同族
KR1020060079040A | US20060146255A1 | US20090261334A1 | US7564529 | US7782436
简单同族成员数量
5
简单同族被引用专利总数
104
诉讼案件数
0
法律状态/事件
授权 | 权利转移
抱歉,您的浏览器不支持PDF预览,请点击链接下载PDF文件