专利数据库
统计分析
产业报告
专利数据监控
产业人才
行业动态
产业政策法规
维权援助
个人中心
详情
文本
图像
标题
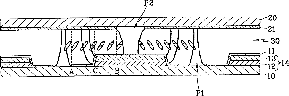
Vertically aligned liquid crystal display
授权日
2003-05-27
公开(公告)号
US6570636
申请日
2002-06-05
公开(公告)日
2003-05-27
当前申请(专利权)人
SAMSUNG DISPLAY CO., LTD.
发明人
KIM, JAE-HOON | SONG, JANG-KUN
简单同族
JP2002055347A | JP4854138B2 | KR100709709B1 | KR1020020010214A | US20020030781A1 | US20020180921A1 | US20030197822A1 | US20040196424A1 | US6424396 | US6570636 | US6724451 | US7006185
简单同族成员数量
12
简单同族被引用专利总数
66
诉讼案件数
0
法律状态/事件
授权 | 权利转移
抱歉,您的浏览器不支持PDF预览,请点击链接下载PDF文件