专利数据库
统计分析
产业报告
专利数据监控
产业人才
行业动态
产业政策法规
维权援助
个人中心
详情
文本
图像
标题
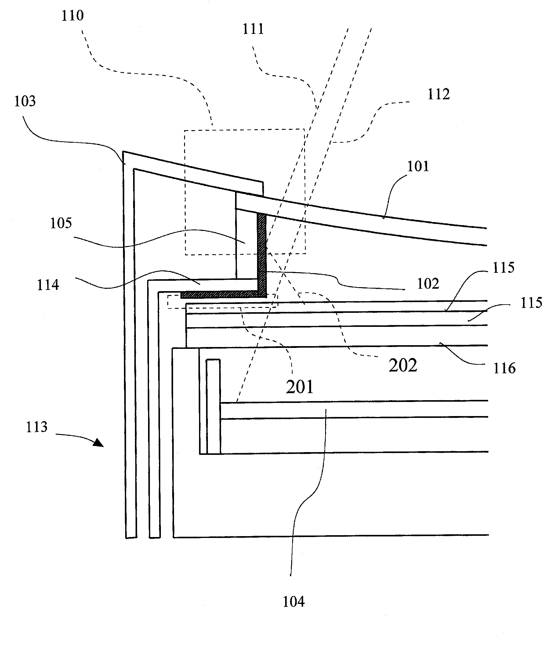
Curved liquid-crystal display device, and method for the forming and installation of reflective plate/sheet for curved liquid-crystal display device
授权日
2009-10-27
公开(公告)号
US7609355
申请日
2006-06-14
公开(公告)日
2009-10-27
当前申请(专利权)人
INFOVISION OPTOELECTRONICS HOLDINGS LIMITED
发明人
NOUCHI, MASANORI | MATSUDA, FUMITOSHI | HASHIBA, HIROMITSU
简单同族
CN100445833C | CN1987591A | JP2007171658A | JP4481245B2 | US20070146616A1 | US7609355
简单同族成员数量
6
简单同族被引用专利总数
58
诉讼案件数
0
法律状态/事件
授权 | 权利转移
抱歉,您的浏览器不支持PDF预览,请点击链接下载PDF文件