专利数据库
统计分析
产业报告
专利数据监控
产业人才
行业动态
产业政策法规
维权援助
个人中心
详情
文本
图像
标题
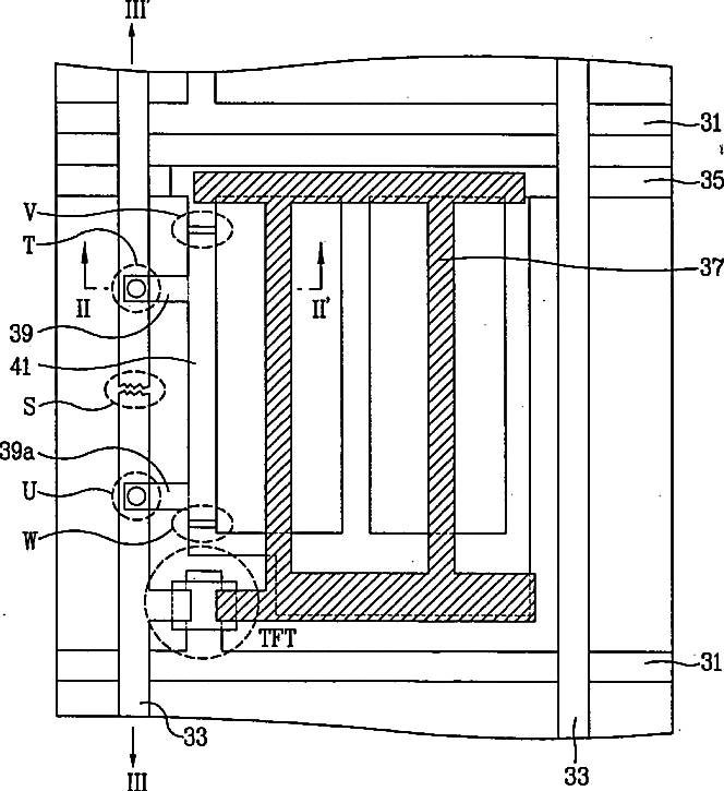
Method for manufacturing an in plane switching mode liquid crystal display device
授权日
1900-01-01
公开(公告)号
US20060050219A1
申请日
2005-11-08
公开(公告)日
2006-03-09
当前申请(专利权)人
LG.PHILIPS LCD CO., LTD.
发明人
LEE, JOUN HO
简单同族
KR100587366B1 | KR1020020017437A | US20020047977A1 | US20050094081A1 | US20060050219A1 | US7034903 | US7271868
简单同族成员数量
7
简单同族被引用专利总数
79
诉讼案件数
0
法律状态/事件
撤回 | 权利转移
抱歉,您的浏览器不支持PDF预览,请点击链接下载PDF文件