专利数据库
统计分析
产业报告
专利数据监控
产业人才
行业动态
产业政策法规
维权援助
个人中心
详情
文本
图像
标题
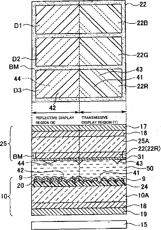
Liquid crystal display device and electronic equipment
授权日
1900-01-01
公开(公告)号
US20040165129A1
申请日
2003-12-01
公开(公告)日
2004-08-26
当前申请(专利权)人
BOE TECHNOLOGY GROUP CO., LTD.
发明人
OKUMURA, OSAMU
简单同族
CN1301438C | CN1510462A | JP2004198920A | JP4039232B2 | KR100562599B1 | KR1020040055666A | TW200415404A | TWI276867B | US20040165129A1 | US7106405
简单同族成员数量
10
简单同族被引用专利总数
121
诉讼案件数
0
法律状态/事件
授权 | 权利转移
抱歉,您的浏览器不支持PDF预览,请点击链接下载PDF文件