专利数据库
统计分析
产业报告
专利数据监控
产业人才
行业动态
产业政策法规
维权援助
个人中心
详情
文本
图像
标题
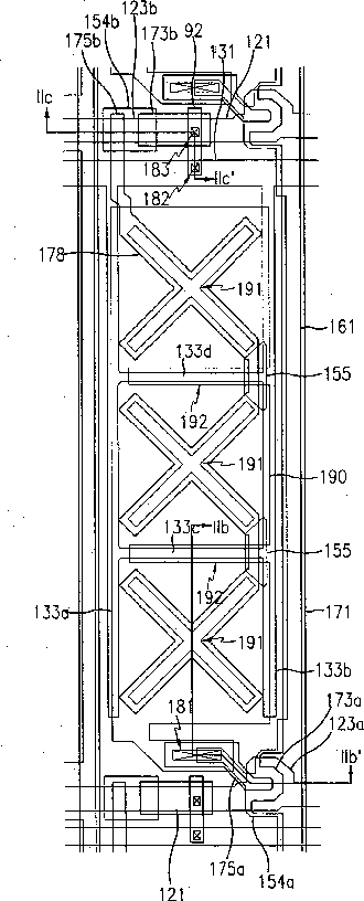
Liquid crystal display
授权日
1900-01-01
公开(公告)号
US20040233368A1
申请日
2004-03-08
公开(公告)日
2004-11-25
当前申请(专利权)人
SAMSUNG DISPLAY CO., LTD.
发明人
KIM, HEE-SEOP | YANG, YOUNG-CHOL | SHIN, KYOUNG-JU | HONG, SUNG-KYU | KIM, JONG-LAE | LEE, BAEK-WOON
简单同族
JP2004272259A | JP4781632B2 | KR100935667B1 | KR1020040079094A | TW200500766A | TWI395039B | US20040233368A1 | US20110211137A1 | US7965345 | US9110344
简单同族成员数量
10
简单同族被引用专利总数
53
诉讼案件数
0
法律状态/事件
授权 | 权利转移
抱歉,您的浏览器不支持PDF预览,请点击链接下载PDF文件