专利数据库
统计分析
产业报告
专利数据监控
产业人才
行业动态
产业政策法规
维权援助
个人中心
详情
文本
图像
标题
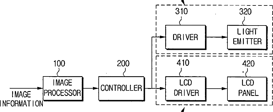
Liquid crystal display and method of adjusting brightness for the same
授权日
1900-01-01
公开(公告)号
US20070285379A1
申请日
2007-01-19
公开(公告)日
2007-12-13
当前申请(专利权)人
SAMSUNG ELECTRONICS CO., LTD.
发明人
JUNG, JUN-HO | CHEN, HANFENG | HONG, CHANG-WAN | PARK, YUNG-JUN | SUNG, JUN-HO | CHOI, HOON | SEONG, KI-BUM | KIM, HYUNG-RAE
简单同族
US20070285379A1
简单同族成员数量
1
简单同族被引用专利总数
85
诉讼案件数
0
法律状态/事件
撤回 | 权利转移
抱歉,您的浏览器不支持PDF预览,请点击链接下载PDF文件