专利数据库
统计分析
产业报告
专利数据监控
产业人才
行业动态
产业政策法规
维权援助
个人中心
详情
文本
图像
标题
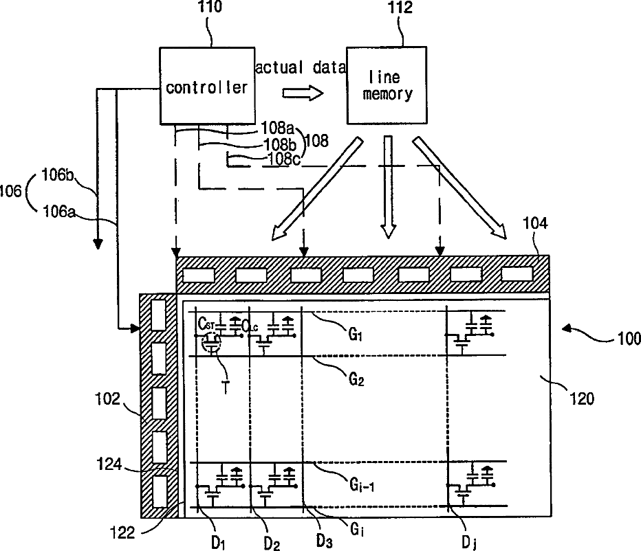
Liquid crystal display device and driving method for the same
授权日
1900-01-01
公开(公告)号
US20030006948A1
申请日
2001-12-28
公开(公告)日
2003-01-09
当前申请(专利权)人
LG DISPLAY CO., LTD.
发明人
SON, HYEON-HO | PARK, KU-HYUN
简单同族
CN1317689C | CN1396581A | JP2003108104A | KR100401377B1 | KR1020030005448A | TW583617B | US20030006948A1 | US6693618
简单同族成员数量
8
简单同族被引用专利总数
127
诉讼案件数
0
法律状态/事件
授权 | 权利转移
抱歉,您的浏览器不支持PDF预览,请点击链接下载PDF文件