专利数据库
统计分析
产业报告
专利数据监控
产业人才
行业动态
产业政策法规
维权援助
个人中心
详情
文本
图像
标题
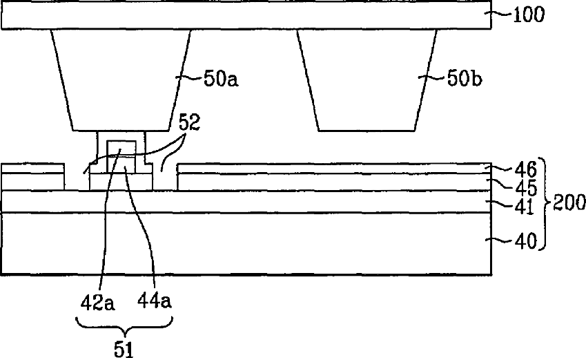
Liquid crystal display device and method for manufacturing the same
授权日
2009-01-27
公开(公告)号
US7483113
申请日
2006-06-27
公开(公告)日
2009-01-27
当前申请(专利权)人
LG DISPLAY CO., LTD.
发明人
PAIK, SANG YOON | LEE, JOON YOUP
简单同族
CN100456096C | CN1982967A | JP2007164134A | JP4566165B2 | KR101192783B1 | KR1020070063662A | TW200722875A | TWI350936B | US20070139604A1 | US20090104725A1 | US7483113 | US7684003
简单同族成员数量
12
简单同族被引用专利总数
79
诉讼案件数
0
法律状态/事件
授权 | 权利转移
抱歉,您的浏览器不支持PDF预览,请点击链接下载PDF文件