专利数据库
统计分析
产业报告
专利数据监控
产业人才
行业动态
产业政策法规
维权援助
个人中心
详情
文本
图像
标题
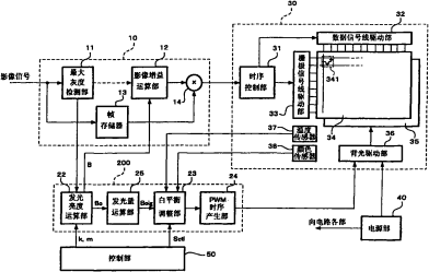
液晶显示装置及用于该装置的影像显示方法
授权日
1900-01-01
公开(公告)号
CN101303839A
申请日
2008-01-10
公开(公告)日
2008-11-12
当前申请(专利权)人
日本胜利株式会社
发明人
大岛芳则
简单同族
CN101303839A | JP2008304907A | JP2008304908A
简单同族成员数量
3
简单同族被引用专利总数
67
诉讼案件数
0
法律状态/事件
撤回
抱歉,您的浏览器不支持PDF预览,请点击链接下载PDF文件