专利数据库
统计分析
产业报告
专利数据监控
产业人才
行业动态
产业政策法规
维权援助
个人中心
详情
文本
图像
标题
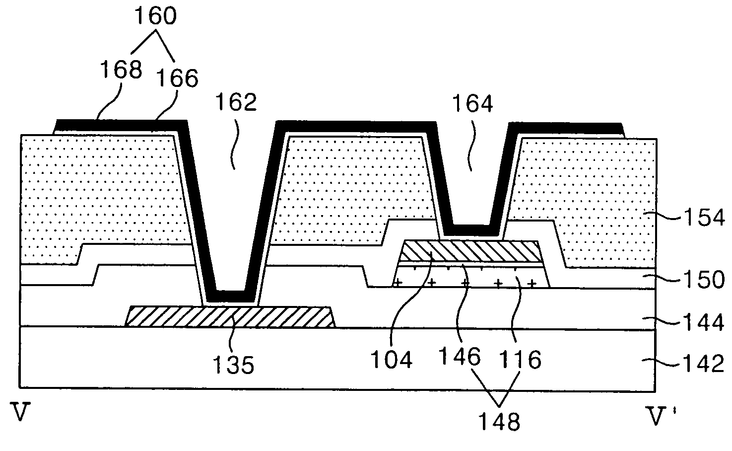
Method of fabricating a liquid crystal display device
授权日
2012-10-23
公开(公告)号
US8294855
申请日
2009-07-13
公开(公告)日
2012-10-23
当前申请(专利权)人
LG DISPLAY CO., LTD.
发明人
LIM, JOO SOO | KIM, WOONG SIK
简单同族
CN1782842A | JP2006163356A | JP2011128631A | JP4794240B2 | JP5124657B2 | KR101139522B1 | KR1020060062644A | US20060119771A1 | US20090275155A1 | US7626669 | US8294855
简单同族成员数量
11
简单同族被引用专利总数
51
诉讼案件数
0
法律状态/事件
授权 | 权利转移
抱歉,您的浏览器不支持PDF预览,请点击链接下载PDF文件