专利数据库
统计分析
产业报告
专利数据监控
产业人才
行业动态
产业政策法规
维权援助
个人中心
详情
文本
图像
标题
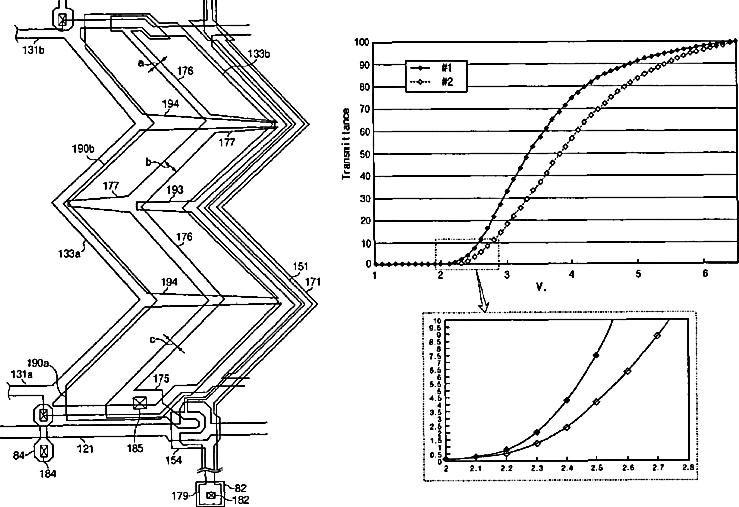
Liquid crystal display having predetermined steepness of light transmittance within a predetermined range on light transmittance gradient for improved visibility
授权日
2008-05-27
公开(公告)号
US7379143
申请日
2004-12-29
公开(公告)日
2008-05-27
当前申请(专利权)人
SAMSUNG DISPLAY CO., LTD.
发明人
LYU, JAE-JIN
简单同族
KR101026810B1 | KR1020050068538A | US20050179631A1 | US7379143
简单同族成员数量
4
简单同族被引用专利总数
89
诉讼案件数
0
法律状态/事件
未缴年费 | 权利转移
抱歉,您的浏览器不支持PDF预览,请点击链接下载PDF文件