专利数据库
统计分析
产业报告
专利数据监控
产业人才
行业动态
产业政策法规
维权援助
个人中心
详情
文本
图像
标题
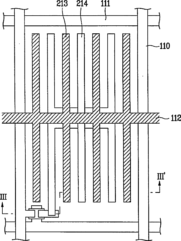
In-plane switching mode liquid crystal display device and method of manufacturing the same
授权日
1900-01-01
公开(公告)号
US20020047972A1
申请日
2001-06-28
公开(公告)日
2002-04-25
当前申请(专利权)人
LG DISPLAY CO., LTD.
发明人
KIM, GI HONG | LEE, YUN BOK
简单同族
KR100587367B1 | KR1020020031455A | US20020047972A1 | US20040218131A1 | US20070109479A1 | US20090186551A1 | US20120264242A1 | US6724454 | US7173682 | US7522245 | US8212984 | US8446553
简单同族成员数量
12
简单同族被引用专利总数
65
诉讼案件数
0
法律状态/事件
授权 | 权利转移
抱歉,您的浏览器不支持PDF预览,请点击链接下载PDF文件