专利数据库
统计分析
产业报告
专利数据监控
产业人才
行业动态
产业政策法规
维权援助
个人中心
详情
文本
图像
标题
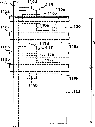
Transflective liquid crystal display device having first and second data drivers and generating first and second signals of different voltage values
授权日
2010-08-17
公开(公告)号
US7777840
申请日
2005-03-14
公开(公告)日
2010-08-17
当前申请(专利权)人
SHARP KABUSHIKI KAISHA
发明人
ENOMOTO, HIROMI | OKAZAKI, SUSUMU
简单同族
JP2006078789A | KR100630984B1 | KR1020060045134A | TW200609574A | TWI338795B | US20060050208A1 | US7777840
简单同族成员数量
7
简单同族被引用专利总数
58
诉讼案件数
0
法律状态/事件
未缴年费 | 权利转移
抱歉,您的浏览器不支持PDF预览,请点击链接下载PDF文件