专利数据库
统计分析
产业报告
专利数据监控
产业人才
行业动态
产业政策法规
维权援助
个人中心
详情
文本
图像
标题
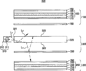
Liquid crystal display device including a transflector and a backlight between two liquid crystal display panels
授权日
2004-12-14
公开(公告)号
US6831711
申请日
2003-06-03
公开(公告)日
2004-12-14
当前申请(专利权)人
SAMSUNG DISPLAY CO., LTD.
发明人
CHOI, JUNG-MIN | LEE, DONG-HO
简单同族
AU2003228118A1 | CN100412643C | CN1672092A | JP2005534073A | JP2005534073A5 | JP4454497B2 | KR100828531B1 | KR1020040009894A | TW200403493A | TWI276880B | US20040017529A1 | US20050062913A1 | US6831711 | US7193666 | WO2004012004A1
简单同族成员数量
15
简单同族被引用专利总数
164
诉讼案件数
0
法律状态/事件
授权 | 权利转移
抱歉,您的浏览器不支持PDF预览,请点击链接下载PDF文件