专利数据库
统计分析
产业报告
专利数据监控
产业人才
行业动态
产业政策法规
维权援助
个人中心
详情
文本
图像
标题
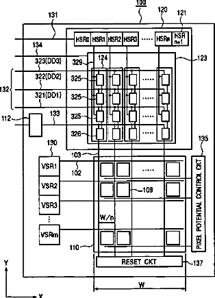
Liquid crystal display device having stabilized drive circuit
授权日
2009-02-17
公开(公告)号
US7492340
申请日
2006-03-22
公开(公告)日
2009-02-17
当前申请(专利权)人
PANASONIC LIQUID CRYSTAL DISPLAY CO., LTD.
发明人
ISAMI, HIRONOBU | TAKEMOTO, IWAO | MATSUMOTO, KATSUMI
简单同族
JP2003271108A | JP2003271108A5 | US20040004595A1 | US20060164357A1 | US7042430 | US7492340
简单同族成员数量
6
简单同族被引用专利总数
56
诉讼案件数
0
法律状态/事件
授权 | 权利转移
抱歉,您的浏览器不支持PDF预览,请点击链接下载PDF文件