专利数据库
统计分析
产业报告
专利数据监控
产业人才
行业动态
产业政策法规
维权援助
个人中心
详情
文本
图像
标题
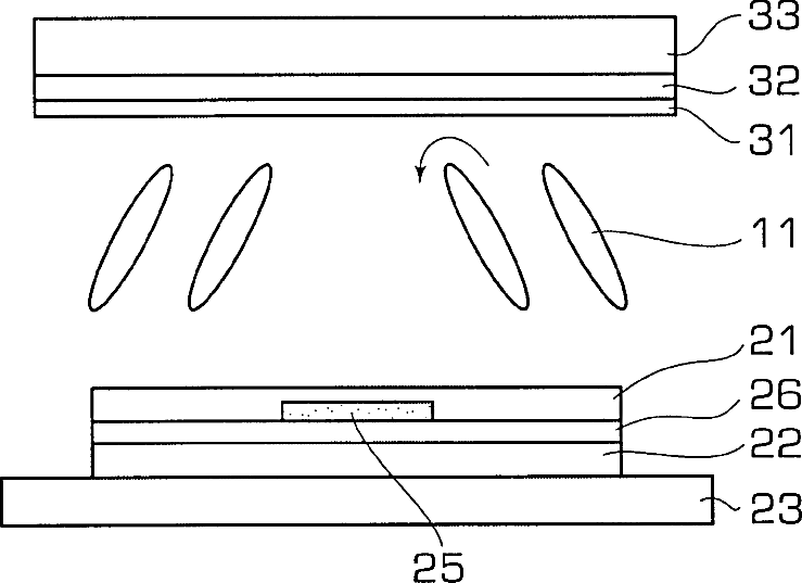
Liquid crystal display with a liquid crystal orientation controlling electrode and processes for manufacturing and driving thereof
授权日
2002-10-15
公开(公告)号
US6466293
申请日
2000-08-23
公开(公告)日
2002-10-15
当前申请(专利权)人
GOLD CHARM LIMITED
发明人
SUZUKI, MASAYOSHI | MURAI, HIDEYA | ISHII, TOSHIYA | HIRAI, YOSHIHIKO | KOBAYASHI, KAZUMI | MATSUYAMA, HIROAKI | INOUE, DAISUKE
简单同族
KR100326828B1 | KR1019990036832A | TW418340B | US6256082 | US6466293
简单同族成员数量
5
简单同族被引用专利总数
142
诉讼案件数
0
法律状态/事件
期限届满 | 权利转移
抱歉,您的浏览器不支持PDF预览,请点击链接下载PDF文件