专利数据库
统计分析
产业报告
专利数据监控
产业人才
行业动态
产业政策法规
维权援助
个人中心
详情
文本
图像
标题
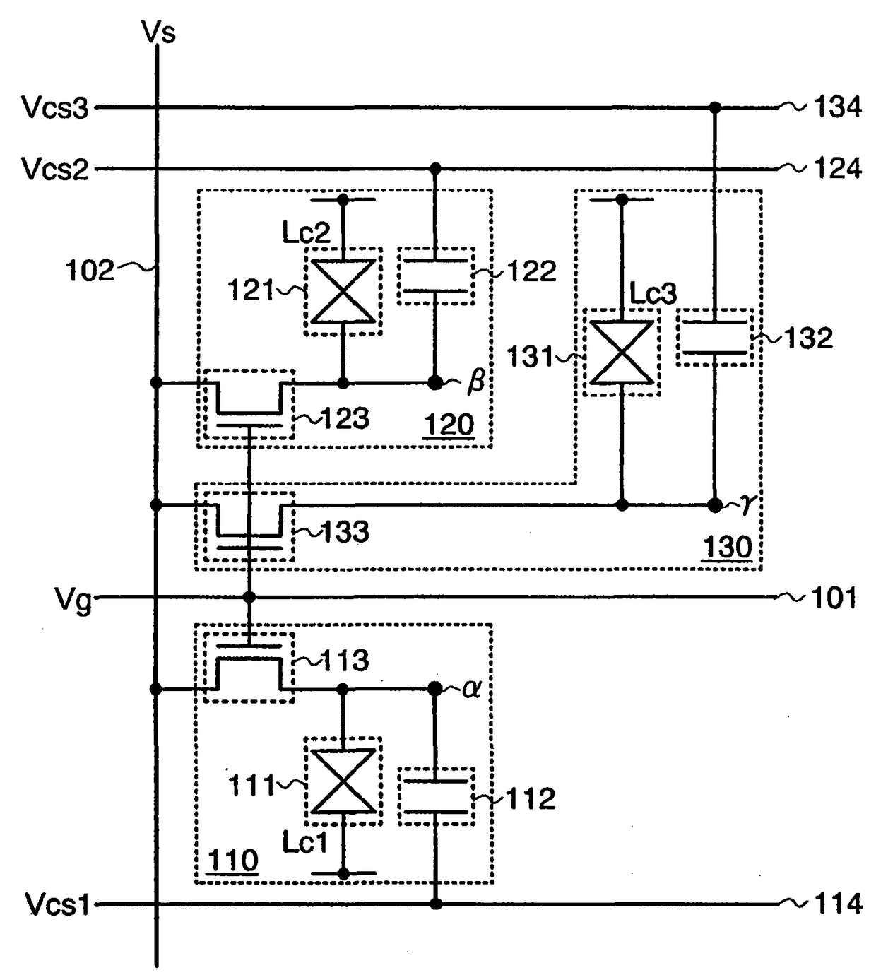
液晶显示装置
授权日
2011-10-26
公开(公告)号
CN101308301B
申请日
2008-05-16
公开(公告)日
2011-10-26
当前申请(专利权)人
株式会社半导体能源研究所
发明人
木村肇
简单同族
CN101308301A | CN101308301B | CN102289122A | CN102289122B | JP2008287021A | JP2008287021A5 | JP5116359B2 | TW200905346A | TWI444734B | US20080284931A1 | US8619011
简单同族成员数量
11
简单同族被引用专利总数
173
诉讼案件数
0
法律状态/事件
授权
抱歉,您的浏览器不支持PDF预览,请点击链接下载PDF文件