专利数据库
统计分析
产业报告
专利数据监控
产业人才
行业动态
产业政策法规
维权援助
个人中心
详情
文本
图像
标题
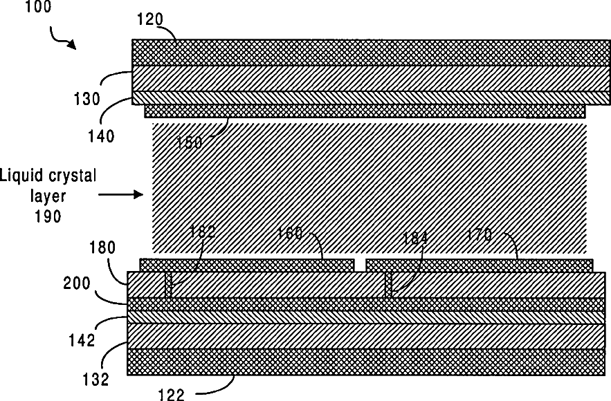
Transflective liquid crystal display
授权日
1900-01-01
公开(公告)号
US20070268418A1
申请日
2007-07-25
公开(公告)日
2007-11-22
当前申请(专利权)人
AU OPTRONICS CORPORATION
发明人
LIN, CHING-HUAN | TSAI, CHING-YU
简单同族
CN100378521C | CN1800930A | JP2006343733A | JP4597906B2 | TW200643522A | TWI310855B | US20060274008A1 | US20070268418A1 | US7286192 | US7567312
简单同族成员数量
10
简单同族被引用专利总数
88
诉讼案件数
0
法律状态/事件
授权
抱歉,您的浏览器不支持PDF预览,请点击链接下载PDF文件