专利数据库
统计分析
产业报告
专利数据监控
产业人才
行业动态
产业政策法规
维权援助
个人中心
详情
文本
图像
标题
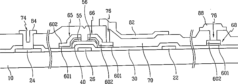
Thin film transistor array substrate for liquid crystal display and method of fabricating the same
授权日
1900-01-01
公开(公告)号
US20050236624A1
申请日
2005-06-28
公开(公告)日
2005-10-27
当前申请(专利权)人
SAMSUNG DISPLAY CO., LTD.
发明人
KIM, SANG-GAB | HONG, MUN-PYO
简单同族
JP2002055362A | JP4790134B2 | KR100646792B1 | KR1020020010212A | TW486825B | US20020013020A1 | US20040002180A1 | US20050236624A1 | US6555409 | US6943367 | US7005670
简单同族成员数量
11
简单同族被引用专利总数
80
诉讼案件数
0
法律状态/事件
未缴年费 | 权利转移
抱歉,您的浏览器不支持PDF预览,请点击链接下载PDF文件