专利数据库
统计分析
产业报告
专利数据监控
产业人才
行业动态
产业政策法规
维权援助
个人中心
详情
文本
图像
标题
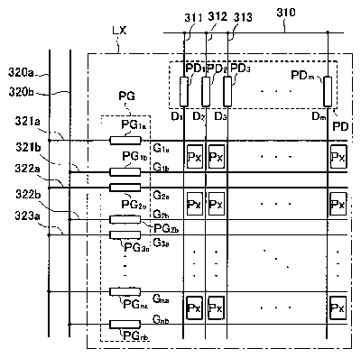
Liquid crystal display and test method thereof
授权日
2010-04-27
公开(公告)号
US7705924
申请日
2006-02-22
公开(公告)日
2010-04-27
当前申请(专利权)人
SAMSUNG DISPLAY CO., LTD.
发明人
KIM, DONG-GYU
简单同族
US20060186913A1 | US20100213969A1 | US7705924 | US7847872
简单同族成员数量
4
简单同族被引用专利总数
61
诉讼案件数
0
法律状态/事件
未缴年费 | 权利转移
抱歉,您的浏览器不支持PDF预览,请点击链接下载PDF文件