专利数据库
统计分析
产业报告
专利数据监控
产业人才
行业动态
产业政策法规
维权援助
个人中心
详情
文本
图像
标题
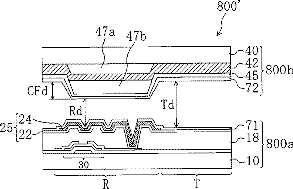
Liquid crystal display device with color filter substrate height greater in reflection region than transmission region
授权日
2007-05-01
公开(公告)号
US7212267
申请日
2006-02-21
公开(公告)日
2007-05-01
当前申请(专利权)人
SHARP KABUSHIKI KAISHA
发明人
FUJIMORI, KOHICHI | NARUTAKI, YOZO | AKEBI, YASUNOBU | KONISHI, IKUJI
简单同族
CN100442116C | CN1198168C | CN1409158A | CN1677184A | JP2004086108A | JP4050119B2 | KR100761603B1 | KR100799422B1 | KR1020030028721A | KR1020050099467A | TW562974B | US20030063244A1 | US20040233357A1 | US20060139528A1 | US20070177083A1 | US6850298 | US7030948 | US7212267
简单同族成员数量
18
简单同族被引用专利总数
191
诉讼案件数
0
法律状态/事件
授权
抱歉,您的浏览器不支持PDF预览,请点击链接下载PDF文件