专利数据库
统计分析
产业报告
专利数据监控
产业人才
行业动态
产业政策法规
维权援助
个人中心
详情
文本
图像
标题
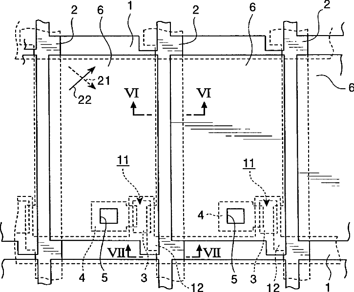
Liquid crystal display device in which neighboring pixel electrodes overlap source line by different widths
授权日
2003-01-14
公开(公告)号
US6507375
申请日
2000-06-23
公开(公告)日
2003-01-14
当前申请(专利权)人
ALPS ELECTRIC CO., LTD.
发明人
KAWAHATA, KEN
简单同族
JP2001005032A | JP3716132B2 | KR100375187B1 | KR1020010007405A | TW580605B | US6507375
简单同族成员数量
6
简单同族被引用专利总数
67
诉讼案件数
0
法律状态/事件
未缴年费 | 权利转移
抱歉,您的浏览器不支持PDF预览,请点击链接下载PDF文件