专利数据库
统计分析
产业报告
专利数据监控
产业人才
行业动态
产业政策法规
维权援助
个人中心
详情
文本
图像
标题
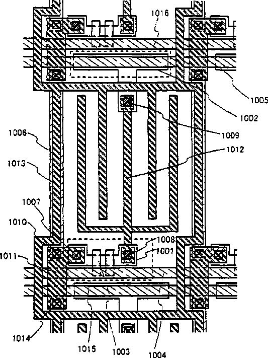
Liquid-crystal display device and method of fabricating the same
授权日
2009-07-28
公开(公告)号
US7567328
申请日
2005-03-22
公开(公告)日
2009-07-28
当前申请(专利权)人
SEMICONDUCTOR ENERGY LABORATORY CO., LTD.
发明人
YAMAZAKI, SHUNPEI | KOYAMA, JUN
简单同族
US20020008797A1 | US20040027505A1 | US20050162602A1 | US6646692 | US6987552 | US7567328
简单同族成员数量
6
简单同族被引用专利总数
126
诉讼案件数
0
法律状态/事件
授权
抱歉,您的浏览器不支持PDF预览,请点击链接下载PDF文件