专利数据库
统计分析
产业报告
专利数据监控
产业人才
行业动态
产业政策法规
维权援助
个人中心
详情
文本
图像
标题
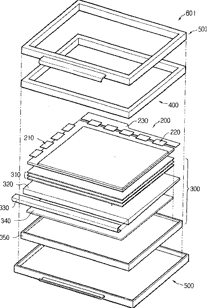
Liquid crystal display panel with signal transmission patterns
授权日
1900-01-01
公开(公告)号
US20050190174A1
申请日
2005-04-20
公开(公告)日
2005-09-01
当前申请(专利权)人
SAMSUNG ELECTRONICS CO., LTD.
发明人
KIM, SANG-SOO | OH, CHOONG-SEOB | PARK, JIN-HYEOK | PARK, JIN-HO | KIM, DONG-GYU | PARK, YONG-EUN | KANG, NAM-SOO | LEE, GYU-SU
简单同族
JP2000356783A | JP2000356783A5 | KR100304261B1 | KR1020000066493A | US20030103027A1 | US20030201989A1 | US20040085279A1 | US20050190174A1 | US20050190175A1 | US20080062109A1 | US6639589 | US7102631 | US7106317 | US7133037 | US7268776 | US7295196 | US8031150
简单同族成员数量
17
简单同族被引用专利总数
202
诉讼案件数
0
法律状态/事件
期限届满 | 权利转移
抱歉,您的浏览器不支持PDF预览,请点击链接下载PDF文件