专利数据库
统计分析
产业报告
专利数据监控
产业人才
行业动态
产业政策法规
维权援助
个人中心
详情
文本
图像
标题
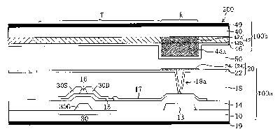
Transflective liquid crystal display device with substrate having greater height in reflective region
授权日
2005-02-01
公开(公告)号
US6850298
申请日
2002-10-01
公开(公告)日
2005-02-01
当前申请(专利权)人
SHARP KABUSHIKI KAISHA
发明人
FUJIMORI, KOHICHI | NARUTAKI, YOZO | AKEBI, YASUNOBU | KONISHI, IKUJI
简单同族
CN100442116C | CN1198168C | CN1409158A | CN1677184A | JP2004086108A | JP4050119B2 | KR100761603B1 | KR100799422B1 | KR1020030028721A | KR1020050099467A | TW562974B | US20030063244A1 | US20040233357A1 | US20060139528A1 | US20070177083A1 | US6850298 | US7030948 | US7212267
简单同族成员数量
18
简单同族被引用专利总数
191
诉讼案件数
0
法律状态/事件
授权 | 权利转移
抱歉,您的浏览器不支持PDF预览,请点击链接下载PDF文件