专利数据库
统计分析
产业报告
专利数据监控
产业人才
行业动态
产业政策法规
维权援助
个人中心
详情
文本
图像
标题
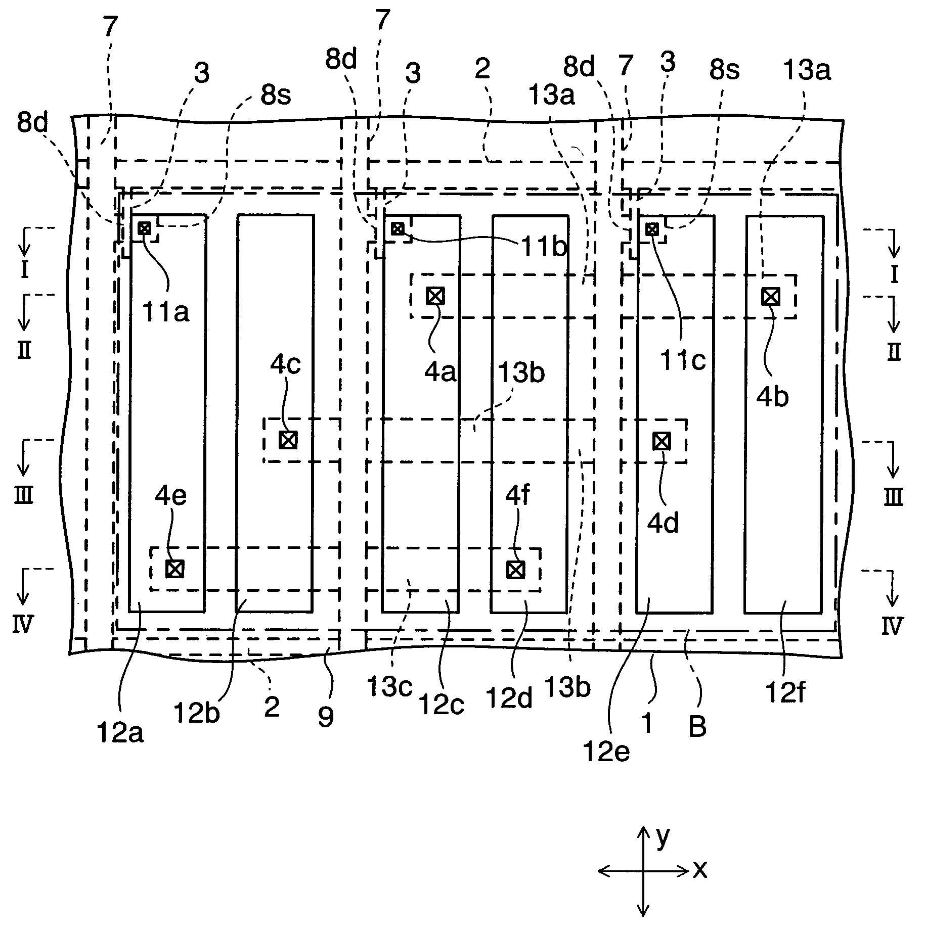
Liquid crystal display device having dispersed picture element electrodes
授权日
2006-03-21
公开(公告)号
US7016005
申请日
2003-12-16
公开(公告)日
2006-03-21
当前申请(专利权)人
SHARP KABUSHIKI KAISHA
发明人
KOIKE, YOSHIO
简单同族
JP2004212963A | JP4436120B2 | KR100768365B1 | KR1020040054527A | TW200419508A | TWI236651B | US20040150777A1 | US7016005
简单同族成员数量
8
简单同族被引用专利总数
57
诉讼案件数
0
法律状态/事件
未缴年费 | 权利转移
抱歉,您的浏览器不支持PDF预览,请点击链接下载PDF文件