专利数据库
统计分析
产业报告
专利数据监控
产业人才
行业动态
产业政策法规
维权援助
个人中心
详情
文本
图像
标题
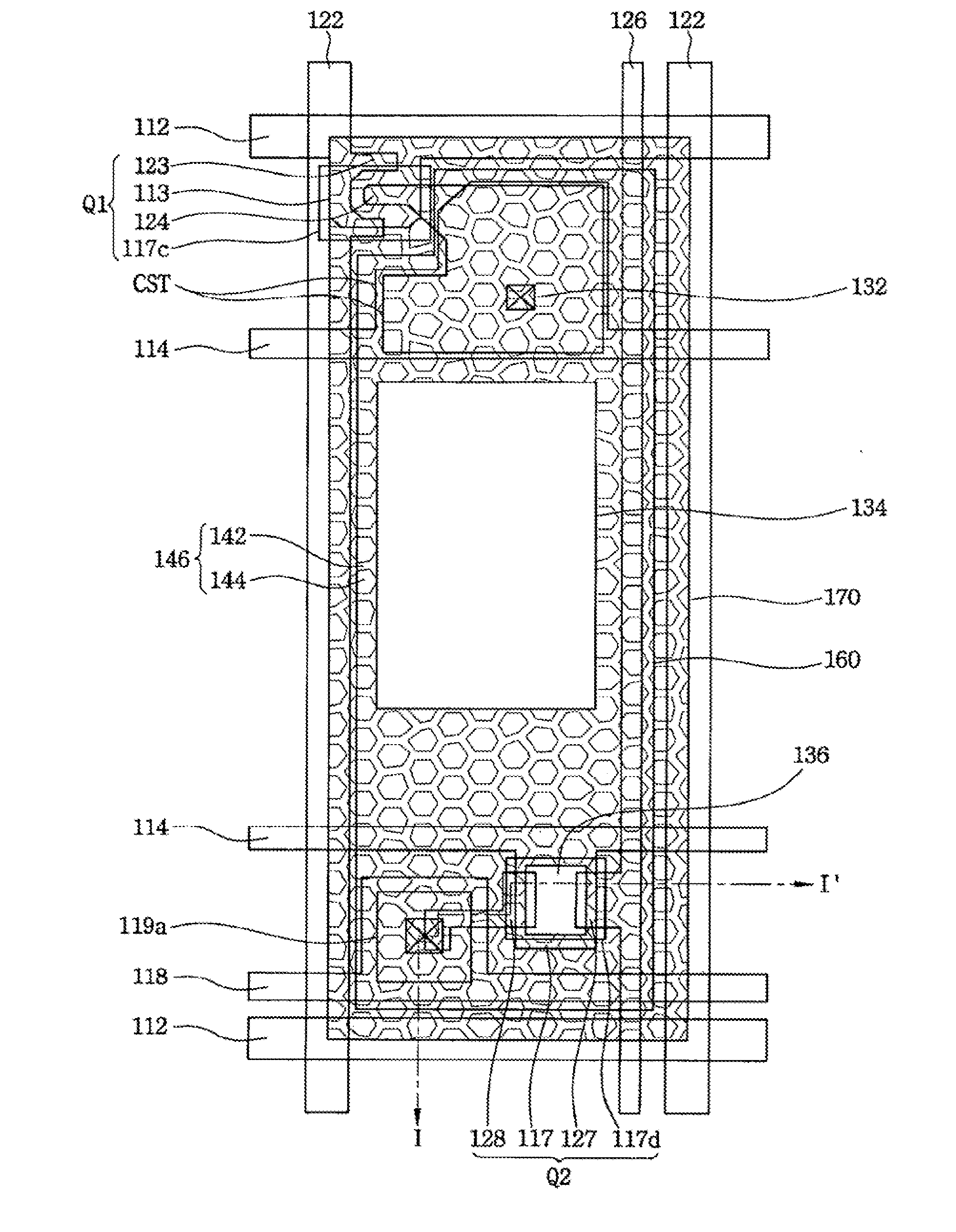
Light sensing element, array substrate having the same and liquid crystal display apparatus having the same
授权日
1900-01-01
公开(公告)号
US20100195032A1
申请日
2010-04-05
公开(公告)日
2010-08-05
当前申请(专利权)人
SAMSUNG DISPLAY CO., LTD
发明人
PAK, SANG-JIN | KIM, HYUNG-GUEL | UH, KEE-HAN | CHO, JONG-WHAN | JEON, JIN | JUNG, YOUNG-BAE
简单同族
CN100568072C | CN1637533A | JP2005129948A | JP5044094B2 | KR100923025B1 | KR1020050038987A | TW200532296A | TWI359969B | US20050117079A1 | US20080023735A1 | US20100195032A1 | US7279730 | US7709868 | US8004025
简单同族成员数量
14
简单同族被引用专利总数
129
诉讼案件数
0
法律状态/事件
授权 | 权利转移
抱歉,您的浏览器不支持PDF预览,请点击链接下载PDF文件