专利数据库
统计分析
产业报告
专利数据监控
产业人才
行业动态
产业政策法规
维权援助
个人中心
详情
文本
图像
标题
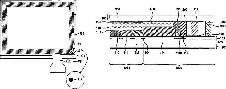
Liquid crystal display device
授权日
2005-06-14
公开(公告)号
US6906771
申请日
2003-01-03
公开(公告)日
2005-06-14
当前申请(专利权)人
KABUSHIKI KAISHA TOSHIBA
发明人
TAKAHASHI, HIDEYUKI | HANAZAWA, YASUYUKI | NAGAYAMA, KOHEL
简单同族
JP2003202584A | KR100507299B1 | KR1020030060765A | TW200301834A | TW576942B | US20030151714A1 | US6906771
简单同族成员数量
7
简单同族被引用专利总数
56
诉讼案件数
0
法律状态/事件
未缴年费 | 权利转移
抱歉,您的浏览器不支持PDF预览,请点击链接下载PDF文件